Распределение массы партий материалов, завозимых на строительные объекты с базы (1986, 447с., GRF0149) |
| Материал из категории Графики, зависимости (транспорт, логистика) |
| 02.01.2016 17:53 |
|
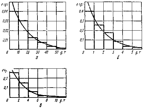
Метки (тэги, tags): Экспоненциальным распределением описывается распределение партий отдельных материалов, доставляемых непосредственным потребителям с базы производственно-технологической комплектации строительства (рис. 20).
Рис. 20. Распределение массы партий материалов, завозимых на строительные объекты с базы производственно-технологической комплектации строительства: а — красный кирпич (g=17,1); б — партии материалов, перевозимых в универсальных контейнерах (g=1,75); в — партии разных материалов, перевозимых в универсальных контейнерах, сгруппированные по объектам строительства (g=2,5)
В некоторых случаях размеры партий грузов описываются нормальным распределением, распределением Вейбулла и пр.
Источник: Грузовые автомобильные перевозки / Воркут А. И.— 2-е изд., перераб. и доп.— К.: Вища шк. Головное изд-во, 1986.— С. 49-50 (447 с.) Метки (тэги, tags): Последние похожие материалы:
Более поздние похожие материалы:
|
| Обновлено 20.04.2017 06:08 |
Последние новости на сайте
Пример материалов из категории "Задачи по логистике"
Facebook-страница
Фрагмент из задачи
Группа на Linkedin
(более 4000 участников)
Группы на Facebook
Результаты тестов
| Последние результаты | ||
|---|---|---|
| <->(Лог-М) Тема 01. Основні поняття логістики (27 тест.завдань) | 51.85 % | |
| <->(Лог-М) Тема 11. Транспортна логістика (15 тест.завдань) | 26.67 % | |
| <-->Стоит ли Вам выбирать профессию менеджера по логистике? | 64.00 % | |
| Перейти к тестам |



